- Kategorie
- Výrobci
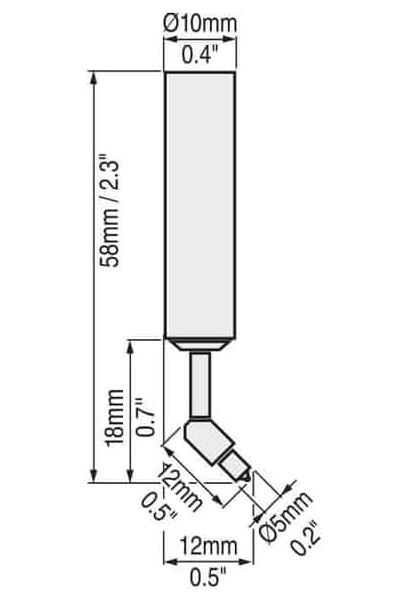
Mikrosonda FS 45° pro PosiTector 6000
06110608
Zařazení produktu
Poptat
Poptávka produktu
Mikrosonda FS 45° pro PosiTector 6000
Parametry
| Měřicí rozsah | 0–1150 µm |
| Princip měření | magnetický princip a měření vířivých proudů |
| Provedení sondy PosiTector | kabelová mikrosonda |
| Přesnost měření | ± (0.5 µm + 1 %) 0–100 µm; ± (2 µm + 3 %) >100 µm |
| Typ měření | nedestruktivní |
| Typ podkladu | kovové železné podklady |
| Typ povlaku | nevodivé povlaky |
| Úhel sondy | šikmá 45° |
Související dokumenty
Související
Sady certifikovaných povlakových standardů ocel/epoxy obsahují čtyři standardy v každé sadě s přesností ± 0,43 µm. Podklad tvoří ocelová destička s epoxy povlakem o
PosiTector SmartLink - Bluetooth adaptér k sondám DeFelsko; SmartLink umožňuje využívat vybrané sondy DeFelsko a bezdrátově je propojit k vašim chytrým zařízením, ať již na platformě Apple iOS nebo...
Měřidlo PosiTector – tělo přístroje pro výměnné sondy DeFelskoTělo přístroje PosiTector je univerzální základ, ze kterého se podle připojené sondy stává měřicí přístroj pro
Podobné produkty
Mikrosonda FS 0° pro PosiTector 6000 – měření tloušťky povlaků na malých dílech a těžko přístupných místech; Mikrosonda pro měření neferomagnetických povlaků na feromagnetických podkladech (ocel,...
Mikrosonda FS s úhlem 90° pro PosiTector 6000 – měření tloušťky povlaků na feromagnetických podkladech; Pravoúhlá sonda pro měření v oblastech s nízkou světlou výškou. Díky nejmenšímu měřicímu hrotu...
Mikrosonda NS 0° pro PosiTector 6000 – měření tloušťky nevodivých povlaků na neferomagnetických podkladech; Mikrosonda s nejmenším měřícím hrotem a nejvyšší přesností u tenkých vrstev. Tato přímá...
Mikrosonda NS s úhlem 45° PosiTector 6000 – měření tloušťky povlaků na neferomagnetických podkladech; Sonda pro měření nevodivých povlaků na neferomagnetických podkladech (neželezné kovy jako hliník,...
Mikrosonda NS s úhlem 90° pro PosiTector 6000 – měření nevodivých povlaků na neferomagnetických podkladech; Tato mikrosonda s nejmenším měřícím hrotem pod úhlem 90° a nejvyšší přesností u tenkých...
Prodloužená mikrosonda FS 90° pro měření tloušťky neferomagnetických povlaků na feromagnetických podkladech; Speciální prodloužená varianta kabelové sondy s úhlem 90° pro těžko přístupná místa, která...


Podrobnosti o produktu
Mikrosonda FS s úhlem 45° pro PosiTector 6000 – měření tloušťky povlaků na feromagnetických podkladech
Sonda s nejmenším měřícím hrotem pod úhlem 45° s nejvyšší přesností u tenkých vrstev je tato sonda ideální pro měření malých dílů, v těžko přístupných místech nebo v blízkosti hran. Určena je pro měření neferomagnetických povlaků na feromagnetických podkladech (ocel, železo, magnetické kovy). Měřící rozsah je od 0 do 1150 µm. Příslušenstvím sondy je sada kalibračních fólií, návod k obsluze, kalibrační certifikát.
Parametry: Rozsah 0 - 1150 µm
Přesnost: ± (0.5 µm + 1 %) 0 - 100 µm
± (2 µm + 3 %) > 100 µm
Příslušenství:
Sonda
Kalibrační fólie
Certifikát kalibrace dle NIST nebo PTB vložen u každé sondy
Manuál
Přehled kompatibility sond PosiTector.